Latakas ir trapas padeda surinkti vandenį, kad patalpa neskęstų, ir dažniausiai kažkuris iš jų montuojamas dušo zonoje, katilinėje bei garaže. Aptarsime pagrindinius klausimus ir niuansus, susijusius su jų įrengimu.
Šiame straipsnyje aptarsime garažo trapų įrengimą, jų skirtumus nuo latakų, montavimo niuansus ir priežiūros patarimus. Taip pat nagrinėsime sklypo drenažo ir lietaus kanalizacijos įrengimo klausimus, užtikrinančius pastato ilgaamžiškumą ir tvarkingą teritorijos būklę.
Trapas ar latakas: ką pasirinkti?
Pagrindiniai skirtumai
Pagrindiniai skirtumai tarp linijinio (latako) ir taškinio (trapo) vandens surinkimo yra perimetras, kuriuo surenkamas vanduo, ir reikalingo nuolydžio formavimas. Trapas surenka vandenį tame taške, kur yra sumontuotas, o latakas surenka vandenį visa savo linija ir nuveda į lietaus kanalizaciją.
Dušo zonoje latako naudojimas yra praktiškesnis sprendimas, nes latakas didesniu perimetru surenka vandenį. Priklausomai nuo sumontavimo vietos, latakui užtenka vienos arba dviejų krypčių nuolydžio. Atitinkamai, trapas turi turėti nuolydį iš keturių pusių, kas apsunkina tinkamo nuolydžio suformavimą, plytelių supjovimą ir klojimą, o taip supjautos trapui plytelės dažniausiai neturi gero estetinio vaizdo.
Drenažas ir lietaus kanalizacija / Darėmės patys / #statomesnama
Trapas katilinėje
Katilinėje rekomenduojama montuoti trapą, nes gali įvykti avarija/gedimas, kuomet reikės staigiai surinkti didelį kiekį vandens iš boilerio, skalbyklės ar kito vandens šaltinio. Trapo maksimalus vandens pralaidumas siekia iki 1,5l/s, o dušo latako - 0,91l/s. Jei katilinė yra rūsio patalpoje (žemiau patvankos lygio), rekomenduojama naudoti trapą, kuris savyje turi atbulinį vožtuvą. Taip apsaugosite patalpas ne tik nuo avarijos ar gedimo, bet ir nuo atbulinės tekmės srovės persipildžius lietaus surinkimo sistemoms.

Trapas arba latakas garaže
Garažo zonoje praktiškesnis sprendimas yra įrengti latakus. Pagal pasirinktą montavimo vietą, latakams pakanka vienos arba dviejų krypčių nuolydžio, o trapui privalomas nuolydžio formavimas iš keturių pusių. Paprastėja kasybos ir kanalizacijos vamzdžio įrengimo darbai. Padidėja darbų ir medžiagų apimtis formuojant nuolydžius ir įrengiant kanalizacijos vamzdį.
Paprastai latakai yra įrengiami šiose vietose:
- Lauke išilgai garažo vartams.
- Garažo viduje išilgai vartams.
- Garažo viduje išilgai po automobiliu.
Lauke ties garažo vartais latakai montuojami tuomet, kai dalies sklypo nuolydis yra nukreiptas link garažo (garažas įrengtas žemiau pastato nulinės altitudės). Latakai surenka vandenį, kuris nuteka nuo pastato fasado, garažo vartų ir susikaupusį ant kiemo dangos.
Garažo viduje išilgai įvažiavimo latakai montuojami tuomet, kai atsiranda būtinybė vandenį surinkti tik iš garažo patalpos (sklypo nuolydis yra pakankamas ir nukreiptas nuo viso pastato perimetro). Taip pat šis sprendimas leidžia apsisaugoti nuo neplanuoto vandens patekimo iš lauko į garažą.
Latakų vieta po automobiliu pasirenkama tuomet, kai reikia surinkti vandenį tik nuo automobilių ir yra tinkamas nuolydis nuo garažo vartų lauke. Šis sprendimas yra efektyviausias žūrint iš ekonominės pusės.

Dušo latakai: estetika ir praktiškumas
Estetiškiausias yra dušo latakas su įklijuojama plytele (matosi tik tarpelis, kur subėga vanduo). Aplink groteles su įklijuota plytele nesirenka plaukai, ji yra sulaikomi sifone arba plaukų sietelio pagalba. Tuo tarpu įprastų grotelių tarpuose plaukai užsilaiko ir taip sugadinamas dušo zonos estetinis vaizdas.
Montavimo vieta
Geriausia dušo lataką montuoti prie sienos po dušo galva. Tuomet pakanka dušo zonoje suformuoti nuolydį viena kryptimi į dušo lataką. Taip pat prausiantis neteks stovėti žemiausioje vietoje, kur susirenka visas vanduo.
Nuolydis
Nuolydis turėtų būti 1,5-2%. Jį suformuoti puikiai tinka ACO profiliuotis.
Pralaidumas
Prieš pasirenkant lataką arba trapą, reiktų žinoti, kokia dušo galva bus montuojama ir koks jos pralaidumas. Tuomet reiktų pasirinkti tokį lataką/trapą, kurio pralaidumas nebūtų mažesnis nei dušo galvos.
Sifono aukštis
Dušo latako mažiausias vandens aukštis sifone 25 mm, kai naudojams latakas, kurio montavimo aukštis 59 mm. Trapo mažiausias vandens aukštis sifone 25 mm, kai naudojams trapas, kurio montavimo aukštis 51 mm.
Sausas ar šlapias sifonas?
Sausame sifone nuo nemalonaus kvapo apsaugo membrana arba plūdė, o šlapio tipo sifone - vanduo esantis jame. Jeigu dušas naudojamas reguliariai tuomet pasirinkti reiktų šlapio tipo sifoną. Jeigu dušas naudojamas retai, tuomet reiktų rinktis sausą sifoną.
Reiktų turėti omenyje, kad sauso tipo sifonas veikia tinkamai tik tuomet, kai jis yra švarus. Jeigu į jo vidų patektų svetimkūnis, tuomet jis pilnai neužsidarytų ir neapsaugotų nuo nemalonių kvapų. Bendrai paėmus, šlapio tipo sifonas yra racionalesnis sprendimas, nes jis nesugenda ir jį išvalius puikiai vėl veikia. Jeigu išdžiūva vanduo ir atsiranda nemalonus kvapas, įpylus į sifoną vandens, problema dėl kvapo greitai pašalinama. O sauso tipo sifoną reiktų ardyti, kad išvalyti arba jam pasižeidus reiktų jį keisti.
Taip pat sauso tipo sifonai sumažina dušo latako pralaidumą dėl jų konstrukcijose esančių membranų ar plūdžių.
Horizontalus ar vertikalus flanšas?
Dušo latakai su horizontaliu flanšu, dar kitaip vadinami laisvai pastatomais. Jie gali būti sumontuoti, kur yra norima dušo erdvėje. Dušo latakai su vertikaliu flanšu yra skirti montuoti ties siena. Sumontavus tokį dušo lataką sudaromas įspūdis, kad vanduo subėga per tarpą tarp grindų ir sienos.
Latako ilgis
Geriausia rinktis dušo lataką maksimalų, kiek leidžia vieta, kurioje jis bus montuojamas. Supaprastėja nuolydžio formavimas, mažiau pjaustomos plytelės ir turimas estetiškesnis vaizdas dušo zonoje.
Priežiūra ir valymas
Dažnu atveju latakai ir trapai išvalomi gana paprastai t.y. nuimamos grotelės, nukeliamas plaukų sietelis (jei toks yra), tuomet išimamas sifonas ir trapo / latako vidus bei sifonas yra išvalomi. Išvalius, viską reikia surinkti atgal bei nepamiršti užpildyti sifoną vandeniu.
Rinkoje būna atvejų, kai sifonai neišsiima iš trapo ar latako, tuomet susirinkusius nešvarumus tenka traukti tiesiai iš jo.
Kada išsirinkti lataką ar trapą?
Konkretų gaminį geriausia išsirinkti tuomet, kai nėra išbetonuotos grindys. Dušo latako ar trapo veikimui nemažai įtakos turi ir teisingas kanalizacijos vamzdžių nuvedimas išlaikant tinkamą nuolydį. Šioje stadijoje yra lengviausia padaryti tinkamą kanalizaciją ir sumontuoti lataką/trapą tinkamai, o taip pat ir pasirinkti gaminį su maksimaliai giliu sifonu.
Kaip išsirinkti lataką/trapą?
Pagal šiuos kriterijus:
- Dizainas. Kiekvienam norisi, kad daiktas jam būtų gražus.
- Sifono aukštis. Reiktų rinktis maksimaliai aukštą, kiek leidžia esama situacija su grindų aukščiu. Kuo didesnis sifonas, tuo dušo latako ar trapo pralaidumas yra didesnis ir mažesnė tikimybė, kad vanduo nespės tinkamai subėgti.
- Svarbu žinoti, koks vandens maksimalus pralaidumas per dušo galvą. Latako pralaidumas neturi būti mažesnis nei pratekančio vandens kiekis iš dušo galvos.
- Nepamiršti suderinti dizainą su praktiškumu ir pagalvoti, kaip lengvai jie gali būtų išvalomi. Rekomendacija būtų rinktis lengvai valomą sifoną pvz. dušo latakams pailgą sifoną išardomą į dvi dalis, o trapui išimamą sifoną.
Apsisaugojimas nuo smarvės
Latakams Showerdrain C yra detalė vadinama kvapo užsklanda. Ji apsaugo nuo nemalonių kvapų kuomet išdžiūna sifonas. Ji gali būti sumontuota ir tuomet, kai latakas yra eksplotuojamas.
ACO trapai turi gumines membranas, integruotas į sifoną. Tik šis sprendimas turi vieną silpną vietą. Jeigu prie guminės membranos įstringa svetimkūnis arba aplimpa muilo nuosėdomis, šios membranos pilnai neužsidaro ir tokiu būdu kvapas vis vien patenka iš kanalizacijos į patalpą. Šis neigiamas dalykas galioja ir trapams su sausais sifonais. Tad geriausias sprendimas nuo nemalonaus kvapo išlieka vanduo sifone.
Dažniausiai užduodami klausimai
Kodėl sako, kad ilgus dušo latakus sunku valyti, greit užsikemša?
Dušo latako užsikimšimo greitis nemažai priklauso ne tik nuo pačio latako konstrukcijos. Labai svarbus aspektas yra tinkamas nuotekų vamzdžio nuolydis. Jei iš latako sunkiai į nuotekas išbėga vanduo, dėl netinkamai išklotų vamzdžių, tuomet aišku nešvarumai kaupsis pačiame latake ir jo užsikimšimas įvyks greitai, nepaisant kokio dydžio yra latakas. Tokiu atveju nepadės ir patys giliausi latakai.
Kaip susitvarkyti su smėliu, kuris nuo kiemo nešasi į trapus? Ar jungti trapus su lietaus nuotekom?
Latakus ar trapus, esančius kieme ar garaže, yra būtina jungti į lietaus nuotekas. Visi Aco trapai turi nešvarumų indus, kuriuose sustabdomi nešvarumui nuo nutekėjimo į nuotekų vamzdyną.
ACO Euroline latakai turi kelis sprendimus nešvarumų surinkimui. Jeigu sistemoje išbėgimas yra per latako dugną, tokiu atveju galima įdėti išbėgimo vietoje sifoną su lapų gaudykle, kuris ir surenka pratekančius nešvarumus. Jeigu latakų linijos išvedimas yra per įtekėjimo dėžę, dėžėje esantis nešvarumų indas surenka ir nepraleidžia nešvarumų į nuotekų vamzdyną.
Visais atvejais reikia suprasti, kad latakus ar trapus reikia pravalyti. Tam puikiai tinka aukšto slėgio vandens srovė, kuri išstums smėlį ar kitus smulkius nešvarumus į lietaus kanalizaciją. Svarbu, kad tai nebūtų didelis kiekis nešvarumų, kuris galėtų sukelti kanalizacijos vamzdžio užsikimšimą. Nedideli smėlio kiekiai nėra pavojingi lietaus nuotekų vamzdynui.
Sklypo drenažo įrengimas
Sklypo drenažo įrengimas yra vienas svarbiausių inžinerinių sprendimų, užtikrinančių pastato ilgaamžiškumą ir tvarkingą teritorijos būklę. Netinkamai suvaldytas paviršinis ar gruntinis vanduo gali sukelti rimtų pasekmių: drėkstančius pamatus, įtrūkimus, rūsių užliejimą, deformuotas trinkeles ar nuolat šlapią veją.
Jeigu po stipresnio lietaus sklype susidaro balos, kurios neišdžiūsta kelias dienas, tai signalas, kad gruntas blogai praleidžia vandenį arba reljefas suformuotas netinkamai. Jeigu sklype aukštas gruntinio vandens lygis, pavojus kyla ne tik teritorijai, bet ir pastato konstrukcijoms. Molingas gruntas pasižymi prastu vandens pralaidumu. Net ir nedidelis kritulių kiekis gali sukelti vandens kaupimąsi paviršiuje. Vienas rimčiausių signalų - drėgmės dėmės ant rūsio sienų, atsirandantis pelėsis ar drėkstančios grindys.
Drenažo tipai
Sklypo drenažo įrengimas gali būti sprendžiamas skirtingais būdais, priklausomai nuo vandens pobūdžio - ar tai paviršinis lietaus vanduo, ar aukštas gruntinis vanduo:
- Perimetrinis drenažas įrengiamas aplink pastato pamatus. Drenažiniai vamzdžiai klojami aplink visą pastatą, paprastai pamato apačios lygyje arba šiek tiek žemiau.
- Paviršinis drenažas skirtas surinkti lietaus vandenį nuo sklypo paviršiaus.
- Giluminis drenažas naudojamas tada, kai reikia reguliuoti gruntinio vandens lygį didesniame sklypo plote.

Lietaus drenažo įrengimas
Lietaus drenažo įrengimas skirtas surinkti ir nukreipti kritulių vandenį nuo stogo ir sklypo paviršiaus, kad jis nekauptųsi prie pastato ar kieme. Pirmasis lietaus drenažo etapas - vandens surinkimas nuo stogo per lietvamzdžius.
Kai nėra galimybės jungtis prie miesto lietaus tinklų, dažnai įrengiami infiltraciniai (sugėrimo) šuliniai. Tokie sprendimai tinkami tik tada, kai gruntas pakankamai laidus vandeniui. Kai kuriais atvejais lietaus vanduo nukreipiamas į bendrą drenažo sistemą, tačiau svarbu užtikrinti, kad ji būtų pakankamo pajėgumo.
Lietaus kanalizacijos įrengimas
Lietaus kanalizacijos įrengimas - tai inžinerinė sistema, skirta surinkti ir transportuoti lietaus vandenį į centralizuotus tinklus arba specialias kaupimo sistemas. Kieme, įvažiavimuose ar terasose montuojami lietaus surinkimo trapai ir šuliniai.
Jei sklype yra galimybė jungtis prie miesto lietaus kanalizacijos tinklų, vanduo nukreipiamas tiesiai į centralizuotą sistemą. Alternatyva - lietaus vandens kaupimo talpos. Jos leidžia surinktą vandenį panaudoti laistymui ar kitoms reikmėms.
Drenažo įrengimo etapai
Tinkamas drenažo įrengimas reikalauja ne tik kokybiškų medžiagų, bet ir tikslaus technologinio proceso. Klaidos šiame etape dažnai išryškėja tik po metų ar dviejų, kai sistema pradeda veikti neefektyviai:
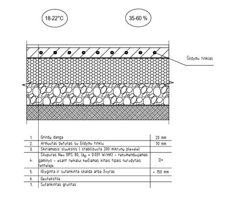
- Pirmasis etapas - tranšėjų kasimas pagal projektą. Labai svarbu suformuoti teisingą nuolydį. Rekomenduojamas nuolydis dažniausiai siekia apie 0,5-1 % (tai reiškia 0,5-1 cm kritimą kiekvienam metrui).
- Tranšėjos dugnas ir šonai išklojami geotekstile.
- Ant geotekstilės pilamas skaldos sluoksnis, kuris sukuria vandens pralaidžią aplinką aplink vamzdį.
- Klojami perforuoti drenažiniai vamzdžiai, kurie surenka vandenį iš grunto.
- Po vamzdžių sumontavimo skalda uždengiama geotekstile, o tranšėja užpilama gruntu.

Drenažo įrengimo kaina
Sklypo drenažo įrengimo kaina visada priklauso nuo konkrečios situacijos, todėl universalaus skaičiaus nėra. Galutinę sąmatą lemia drenažo tipas, grunto savybės, reljefas, pasirinktas vandens išleidimo sprendimas ir darbų sudėtingumas.
Medžiagų dalį sudaro drenažiniai vamzdžiai, geotekstilė, skalda ir surinkimo ar reviziniai šuliniai. Jei pasirenkami didesnio skersmens vamzdžiai ar sudėtingesnės infiltracinės sistemos, medžiagų kaina atitinkamai didėja.
Reikšmingą dalį kainos sudaro kasimo darbai. Jei sklype lengvas, smėlingas gruntas ir pakanka minimalios technikos, darbai vyksta greičiau ir pigiau. Tuo tarpu molingame grunte, ribotoje erdvėje ar jau sutvarkytame sklype, kur reikia ardyti trinkeles ar veją, sąmata gali padidėti ženkliai.
Svarbus kainos veiksnys - vandens išleidimo būdas. Jei yra galimybė jungtis prie miesto lietaus kanalizacijos tinklų, reikalingas projektavimas ir suderinimai, tačiau sistema tampa patikimesnė.
Apibendrinant galima teigti, kad drenažo įrengimo kaina labiausiai priklauso nuo sklypo sąlygų ir pasirinkto sprendimo sudėtingumo.
Dažniausios klaidos įrengiant drenažą
Drenažo sistema gali būti techniškai teisinga „popieriuje“, tačiau net nedidelės montavimo klaidos ilgainiui sukelia rimtų problemų. Viena dažniausių klaidų - neteisingai suformuotas nuolydis. Jei drenažiniai vamzdžiai pakloti be pakankamo kritimo, vanduo vamzdžiuose užsilaiko, kaupiasi nuosėdos ir sistema praranda efektyvumą.
Kita rimta problema - geotekstilės nenaudojimas arba netinkamas jos įrengimas. Be filtravimo sluoksnio skalda ilgainiui užsiteršia smulkiomis grunto dalelėmis, o vamzdžių perforacijos užsikemša. Taip pat dažnai pasitaiko per mažo skersmens vamzdžių pasirinkimas. Jei sistema projektuojama neįvertinus realaus lietaus intensyvumo ar sklypo ploto, stiprių kritulių metu vanduo tiesiog nebespėja nutekėti.
Ne mažiau svarbus aspektas - netinkamai parinkta vandens išleidimo vieta. Drenažas turi turėti aiškų ir patikimą išėjimą.
DUK apie drenažo įrengimą
- Ar drenažas reikalingas naujos statybos sklype? Taip, ypač jei gruntas molingas arba projektavimo metu nebuvo įvertintas paviršinio vandens nutekėjimas. Nauja statyba savaime nereiškia, kad sklypas neturės drėgmės problemų.
- Kuo skiriasi sklypo drenažas ir lietaus kanalizacija? Sklypo drenažas skirtas surinkti gruntinį ar paviršinį vandenį ir sumažinti dirvožemio drėgmę, o lietaus kanalizacija - organizuotai transportuoti lietaus vandenį nuo stogo ir kietų dangų į centralizuotus tinklus ar kaupimo sistemas.
- Ar galima drenažą įsirengti savarankiškai? Mažesniuose sklypuose teoriškai galima, tačiau be tinkamo nuolydžio ir grunto įvertinimo sistema gali neveikti efektyviai. Didesniems ar sudėtingesniems projektams rekomenduojama specialistų konsultacija.
- Kiek laiko tarnauja tinkamai įrengtas drenažas? Kokybiškai įrengta sistema su geotekstile ir tinkamais vamzdžiais gali veikti kelis dešimtmečius be didesnių intervencijų.
- Ar lietaus vandens kaupimas yra praktiškas sprendimas? Taip, jei sklype įrengiama tinkama talpa ir vanduo naudojamas laistymui ar kitoms reikmėms. Tai tvarus ir ekonomiškas sprendimas, ypač didesniuose sklypuose.
Infiltracinio šulinio užsikimšimas
Valytų nuotekų - techninio vandens infiltraciniai šuliniai ar sistemos yra montuojamos kartu su individualiais bio valymo įrenginiais. Jo funkcija yra padėti aplinkai „įsisavinti” nuo taršių buitinių teršalų išvalytas nuotekas.
Tačiau, beveik kas ketvirtas ar net trečias nuotekų valymo įrenginių savininkas susiduria su itin sudėtinga problema, po tam tikro laiko infiltracinis šulinys užsikemša. Tad akivaizdu, kad kiekvienas susidūręs su panašia problema pradeda domėtis, kodėl kemšasi infiltracinis šulinys ir kodėl vanduo nesusigeria.
Pagrindinės priežastys
- Į valymo įrenginius ar tą patį infiltracinį šulinį nuvedamas lietaus vanduo. Gausūs krituliai ar tirpstantis sniegas apkrauna valymo įrenginius, todėl neišskaidytos taršios medžiagos nuotekose yra sunešamos į infiltracinį šulinį, kad įtakoja itin greitą užsikimšimą.
- Į valymo įrenginius yra nukreipiamas vanduo, kuris praplauna naudojamus vandens filtrus. Į valymo įrenginius subėgantis gausus vanduo taip pat apkrauna juos ir visas neišvalytas taršias medžiagas suneša į infiltracijos sistemą - šulinį.
- Dumblas - susidaro nepakankamai išsiskaidžius nuotekose esančioms taršioms medžiagoms. Valymo įrenginių nepakankama priežiūra.
- Bio plėvelė pagreitina užsikimšimą.
Kaip išvengti infiltracinio šulinio užsikimšimo
Pradžioje naudinga suprasti, kad infiltracinis šulinys yra skirtas tik valyto vandens suleidimui į gruntą. Jokie pašaliniai vandens įterpimai nuo lietaus latakų, garažo trapų ir kitų mazgų negali būti daromi dėl vienos priežasties - infiltracinis šulinys užsikimš greičiau, nei pradėsite domėtis priežastimis, kodėl tai nutinka.
Todėl vienas iš pagrindinių būdų išvengti infiltracinės sistemos užsikimšimo yra bakterijos, kurias rekomenduoja BukSvarus.lt specialistai biologinių valymo įrenginių priežiūrai.