Planuojate įsirengti nuosavą namų sauną? Bet nežinote nuo ko pradėti? Jeigu planuojate įsirengti namų sauną ar pirtį pats, tai gali būti sudėtinga, kadangi įsirengti sauną nėra taip paprasta, o ir reikalauja laiko. Vis daugiau žmonių ieško būdų atsipalaiduoti ir atsipalaiduoti neišeinant iš namų. Mini pirtis bute tampa patraukliu pasirinkimu.
Pirtis bute suteikia neįkainojamą prabangos ir komforto jausmą, leidžiantį atsipalaiduoti ir pamiršti dienos rūpesčius. Žiemos metu, kai šaltis spaudžia pro langus, mini pirtis nedideliame bute tampa tikru prieglobsčiu nuo šalčio, leidžiančiu šiltai ir jaukiai praleisti vakarus. Nors daugeliui pirtis bute gali atrodyti kaip neįgyvendinama svajonė, šiuolaikinės technologijos ir sprendimai leidžia ją įgyvendinti net ir nedideliame miesto bute.
Pirtis - vienas tų malonumų, kurie atgaivina ne tik kūną, bet ir sielą. Pabuvus pirtyje, neretai nustoja skaudėti nugara, užplūsta ramybės pojūtis, atsipalaiduoja kūnas. Neretas, įsikūręs erdviame bute, pagalvoja apie pirties įrengimą jame, tačiau neretai, vos pradėjęs generuoti idėjas pirties statymo laikui, susiduria su nežinomybe. Visiems susižavėjusiems pirties įrengimu bute, norime padėti atsakydami į aktualiausius klausimus kaip? kokiomis pastangomis? ir, be abejonės, kokia pirties kaina?

Nuotraukoje KLAFS Matteo Thun sauna įrengta privačiuose apartamentuose Vilniaus senamiestyje.
Pagrindiniai aspektai planuojant sauną bute
Nesvarbu - ilgas, siauras ar mažas ir kompaktiškas, rūsyje ar palėpėje su itin nuožulniomis sienomis - praktiškai kiekvienas kambarys gali būti naudojamas kaip namų SPA poilsio erdvė. Nuo saunos iki poilsio zonos ir dušo turėtų būti atsižvelgiama ne tik į individualius dizaino sprendimus, bet ir į techninius reikalavimus, tokius kaip elektros tiekimas, ventiliacija ir grindys.
Visų pirma nuspręskite kurią patalpą paversite garine. Jei namie yra erdvi vonia - galima joje sumontuoti atskirai stovinčią kabiną-sauną. Jeigu yra tamsus sandėliukas - jį nesunku perdirbti į garinę. Galima išgriauti pertvarą, skiriančią sanmazgą bei vonią ir gautoje erdvėje sutalpinti pirtį bei vonia-sanmazgą vienoje patalpoje. Galima perplanuoti butą, sumažinant holą, prijungiant prie kambario apšiltintą balkoną ar virtuvę.
Ergonomika ir išplanavimas
Keturvietei saunai pilnai įrengti užtenka vos 2×2 metrų patalpos. Žinoma, patogiausia, kai saunos gultas leidžią atsigulti. Renkantis saunos patalpą, įsivaizduokite plačios lovos išdėstymo planus. Tačiau kampinis išdėstymas saunai yra idealiausias: toks išdėstymas ne tik rekomenduojamas vizualiai, bet ir geriausiai išnaudoja erdvę.
Techniniai reikalavimai
- Vidinės saunos sienos turi būti suplanuotos ne mažiau kaip 5 cm atstumu nuo sienos, o išorės - ne mažiau kaip 10 cm.
- Saunos grindys - betoninės arba padengtos plytelėmis. Atkreipkite dėmesį į šios saunos plytelių grindis.
Medžiagos pasirinkimas
Kokybiškas medienos apdorojimas yra svarbus saunos sienoms ir luboms, padeda neprarasti saunos šilumos ir drėgmės. Šias savybes geriausiai atitinka kanadietiškos pušies ir skandinaviškos eglės mediena. „Mėlynojo angelo“ (vokiškai „Blauer Engel“) sertifikatas patvirtina naudojamos medienos nekenksmingumą ir išmetamų teršalų normą. Visa KLAFS saunos mediena turi šį kokybės sertifikatą.

Nuotraukoje KLAFS Lounge sauna su Sanarium funkcija - sauna su garu.
Vonios kambario įrengimas. Viskas nuo A iki Z
Pirties Šildymas ir Vėdinimas
Krosnelės pasirinkimas
Pirtį bute beveik visada šildysite elektra. Nes išvesti dūmtraukį į ventiliaciją - grubus pažeidimas. Kurenti krosnelių butuose neleidžiama. Lieka elektra. Jei kaitinsitės trumpai ir nedažnai - tiks pati pigiausia nedidelė elektrinė krosnelė. Jei norėsite pertis vantomis ir ypač tada, kai norėsite, kad pirtelė lauktų jūsų visada parengta - įsigykite termoakumuliacinę krosnelę.
Abiem atvejais garo „skonį“ pagerinsite apkrovę krosnelę žadeito akmenimis. Krosnelei reiks galingo elektros įvado, galite pasinaudoti elektrinės viryklės ar skalbimo mašinos įvadu - jie yra galingesni. Bet kuriuo atveju pravers kvalifikuoto elektriko konsultacija. Jei krosnelę prijungs specialistas - bus mažesnė gaisro rizika.
Norint, kad įkaitimo laikas neviršytų ribų, krosnelės našumas (nurodytas kW) turėtų būti pritaikytas prie saunos dydžio. Pirties krosnelės išorė turi būti šilta žemesnėje nei 100°C temperatūroje.
Ventiliacijos svarba
Ventiliacijos sistema yra būtina, norint užtikrinti tinkamą oro apykaitą saunoje. Oro srautas turėtų būti reguliuojamas priklausomai nuo darbo režimo ir žmonių skaičiaus. Pirties vėdinimas užtikrina kokybišką klimatą Jūsų saunoje.
Būtina. Nėra ko nė galvoti apie naujai iškeptos garinės „vėdinimą“ į gretimas buto patalpas. Jose kondensuosis drėgmė, atsiras nebūdingas kvapas. Geriausia, jei pirties ventiliacijos kanalą galite sujungti su buto ventiliacijos kanalu. Kita galimybė - pasidaryti ventiliaciją, išeinančia į balkoną ar palei langą. Pirtį galima vėdinti ir per durų apačią į vonia ar dušą, jei šiose patalpose įrengta gera ištraukiamoji ventiliacija.
Saunoje naudojant reguliuojamą Circotherm ventiliacijos sistemą, vidaus oras iš pirties ištraukiamas trimis etapais. Atvėsęs saunos oras nusileidžia iki saunos apačios, kur yra nepageidaujamas, todėl ventiliacijos sistema pašalina šį orą per apatinėje saunos dalyje įrengtą angą. Šviežias oras patenka per saunos krosnelę arba pro durų apačią iš išorės - krosnelėje jis yra pašildomas. Įšilęs oras pakyla ir taip užbaigia oro cirkuliaciją.
Kadangi ventiliacijos sistema pirčiai yra labai svarbi - patariame pasitarti su pirties konsultantu. Galima kreiptis ir į Pirties akademiją.
Šilumos izoliacija
Daugelis galvoja, kad garinei reikia ypatingai geros šilumos izoliacijos. Iš tiesų, visiškai pakanka ir 5 cm akmens vatos, ar 1,5 cm „reflectix“ tipo šilumą atspindinčios izoliacijos. Ant vatos būtinai dedamas hermetizuojantis aliuminizuoto popieriaus sluoksnis, oro tarpą formuojantyss tąšeliai ir tikpo too - dailylentės.
Saugumo reikalavimai
Dėl saugumo reikalavimų durys turi būti atidaromos į išorę. Stiklinės durys turėtų būti pagamintos iš saugaus grūdinto stiklo.
Valdymo pultai
Šiuolaikiški, aukštos kokybės saunos valdymo pultai suteikia saugų ir intuityvų saunos naudojimą. Valdymo pultu galima reguliuoti ar stebėti saunos duomenis, tokius kaip saunos tipas, temperatūra, drėgmė, laikas ar saunos paruošimas.
Populiariausių pirčių tipai
Populiariausiomis bei lengviausiai bute įrengiamomis pirtimis įvardijamos garinės bei infraraudonųjų spindulių pirtys. Pastarosios gerai žinomos ir dėl ypatingųjų, gydomųjų savybių: jos puikiai stimuliuoja kraujo apytaką, slopina raumenų skausmus, mažina stresą ir atpalaiduoja kūną. Garinės pirtys, savo ruožtu, pasižymi itin dideliu garų kiekiu ir puikiai tinka tiems, kurie negali ilgai būti tradicinėse pirtyse, kur nepakankamas oro kiekis ir karštis ilgainiui pradeda dusinti ar kelti silpnumo pojūtį.
Infraraudonųjų spindulių pirtys
Infraraudonųjų spindulių pirties įrengimas bute gana paprastas. Tokias vienvietes, dvivietes ar keturvietes pirtis, priklausomai nuo kabinos talpumo, galima statyti kone kambaryje - jos ne tik nesunkiai sumontuojamos bet ir lengvai pritaikomos įvairioms erdvėms.
Infraraudonųjų spindulių pirčių įrengimui būtina kabina ir infraraudonųjų spindulių šildytuvas, skleidžiantis panašią į saulės, sausą spindulių bangą. Kalbant apie infraraudonųjų spindulių pirties veikimą naudojant elektros energiją, svarbu tai, jog specialių reikalavimų dėl pajungimo į elektros tinklą šio tipo pirtys neturi - jos jungiamos kištuku į įprastą elektros tinklą (230V). Tokiai, iš atskirų dalių sudedamai pirčiai, nereikia ir vadinamojo trapo vandens nubėgimui.
Kalbant apie pirties išorės ir vidaus apdailą, būtina paminėti, jog joms naudojama itin atspari šilumai cūgos mediena, iš kurios daromi ir pirties gultai. Šie, savo ruožtu, prireikus, gali būti lengvai kilnojami.
Dviviečių infraraudonųjų pirčių kainos, vidutiniškai svyruoja nuo 4500 iki 6200 Lt (Harvia Radiant tipo pirtys, 1200 x 1050 x 2100 mm), tuo tarpu norintiems įsirengti atsipalaidavimo oazę keturiems asmenims, šis malonumas atsieitų kiek brangiau. Keturių vietų Harvia Radiant tipo pirtys (1750 x 1200 x 2100 mm), kainuoja nuo 8000 Lt. Užsisakant pirtį kartu su montavimo darbais, kaina gali padidėti dar papildomais 1500 - 2000 Lt.
Garinės pirtys
Garinės, dar kitaip vadinamos suomiškos pirtys, dažniausiai mėgiamos dėl drėgnų garų, reikalauja didesnių pastangų, mat norint įsirengti tokią pirtį namuose, tam būtina atskira patalpa. Kita vertus, garinės pirtys taip pat gana kompaktiškos, tereikia gerai apgalvoto pirties įrengimo projekto.
Garinės pirties svarbiausias elementas - krosnelė. Vienos populiariausių - tradicinės, malkomis kūrenamos krosnelės, tačiau svarbu prisiminti, jog norint įsirengti tokią, malkomis kūrenamą pirtelę, būtinas kaminas. Mėgstantiems patogumą ir komfortą, norintiems mėgautis pirties malonumais, o ne malkų kiekiu reikiamai temperatūrai pasiekti, galima rinktis elektrines, ar kombinuotas, t.y. elektrines, su garo generatoriais, krosneles, kurios veikia naudodamos vulkaninės kilmės, 5 -10 cm skersmens akmenis.
Elektrinės krosnelės patogios dar ir tuo, jog veikia palaikydamos stabilią pirties temperatūros bei drėgmės balansą. Taigi, naudojantis tokio tipo elektrinėmis krosnelėmis, galima lengvai reguliuoti temperatūrą pirtimi naudojantis suaugusiems asmenims, ar pasirenkant visai kitą balansą, kai pirtyje yra vaikai.
Šių pirčių vidaus ir išorės apdailai naudojama tradicinė juodalksnio, liepos, kedro ar skandinaviškos pušies, eglės mediena, o gultai, daromi iš afrikietiškojo medžio abachi, ypatingo dėl mažų perkaitimo savybių.
Norintiems mėgautis tradicinio dydžio (1505 x 1505 mm) garinės pirties teikiamais malonumais, teks investuoti apytiksliai nuo 5000 iki 17000 Lt, o besidomintiems pirties interjero elementais (dekoratyvinėmis sienelėmis, spalvų terapija, garso įranga, specialiais, raižytais durų stiklais, papildomai apytiksliai prireiktų nuo 500 iki 2000 Lt).
Turkiškos pirtys
Turkiškos pirtys dažniausiai rengiamos itin didelėse patalpose, taigi, norint įsirengti tokią bute, reiktų atsisakyti turkiškai pirčiai būdingo masažo ar poilsio kambario, tenkintis tik vadinama įšilimo patalpa, kurioje šildomi ne tik gultai, bet ir grindys. Šioje patalpoje dažniausiai palaikoma temperatūra yra nuo 50 iki 65 laipsnių, pastovų drėgmės ir temperatūros balansą palaikant į patalpą tiekiamais šiltais garais.
Turkiško tipo pirčių apdaila, tradiciškai diktuojama pietinių šalių interjero mados tendencijų, t.y. dažniausiai yra smulkių, mozaikinių ar didesnių keramikinių plytelių derinys.
Visa tai - norinčiojo šeimininko fantazijos ir investuojamo pinigų kiekio reikalas, mat šios pirtys, sava kaina varijuoja itin plačiai: vien garo generatorius šio tipo pirčiai, kainuoja kaip viena iš brangesnių krosnelių, tačiau turkiškos pirties malonumus galima kompensuoti pigesnėmis garo kabinomis. Pirties procedūra jose užima vos 15-20 minučių, ji stimuliuoja pavargusius raumenis, apsaugo audinius nuo perkaitimo ir perdžiūvimo. Garo kabina yra buitinis prietaisas, taigi, gali būti statoma paprastos dušo kabinos ar vonios vietoje, investuojant vidutiniškai nuo 2000 iki 5000 Lt.
Teisiniai Aspektai ir Leidimai
Į Pirties akademiją dažnai kreipiasi jos bendruomenės nariai, norėdami sužinoti, kaip legaliai įsirengti pirtį gyvenamajame pastate. Žinoma, jei susiruošėte įsirengti pirtį savo bute ar name, ir norite tai daryti teisėtai, nepažeisdami teisės aktų reikalavimų, jums gali kilti daugybė klausimų: ar reikia leidimo, kokie priešgaisriniai reikalavimai keliami, ar būtinas kaimynų sutikimas ir pan.
Jei galvojate apie pirtį daugiabutyje, turėsite atsižvelgti į kitus reikalavimus, numatytus STR 2.02.01:2004. Aplinkos ministerijos specialistai pataria pasiskaityti 253, 254, 255 punktus.
Atkreipkite dėmesį, kad elektrinė krosnis neturėtų būti savadarbė, o pagaminta gamykloje. Nepamirškite ir gaisro signalizacijos. Ir dar - pirtis tik šeimos reikmėms.
Aplinkos ministerijos specialistų nuomone, „jei pirties patalpa įrengiama pripažintame tinkamu naudoti gyvenamajame pastate, galimi du įrengimo atvejai“: su statybos leidimu arbe be jo. Pastebėkime - statybos leidimo gali ir nereikėti.
Kitaip sakant, jeigu jūs negriaunate ar nekeičiate laikančiųjų konstrukcijų, projektuodami ir įsirengdami pirtį bute ar name, atliekate tik paprastąjį remontą, statybos leidimo nereikia,. Tad svajodami apie atgaivą bute planuojamoje nuosavoje pirtelėje, paprastojo ar vadinamojo einamojo remonto metu drąsiai keiskite pertvaras, santechniką, grindis, pertvarkykite vamzdynus ir kitą, kaip nurodo Statybos įstatymas, „vartotojo inžinerinę sistemą“.
Daugiabutyje paprastojo remonto būdu rengiant pirtį, su jokiomis valdiškomis institucijomis nieko derinti nereikia. Galima apseiti ir be projekto, tačiau norint įsirengti tinkamą pirtį, patartina pasitelkti specialistus. Nieko nereikia derinti ir su kaimynais.
Statybos leidimas bus reikalingas, kai planuodami pirtį, numatote atlikti kapitalinį remontą ar statinio rekonstravimą. Pasiryžus rimtiems remontams, teks vykdyti ir visus biurokratinius reikalavimus - parengti atitinkamus dokumentus, gauti kaimynų sutikimą, statybos leidimą.
Pirtį įrengus, primena ministerijos specialistai, „teisės aktų nustatyta tvarką turi būti atlikta pripažinimo tinkamu naudoti procedūra“.
Patarimai ir Dažniausios Klaidos Įrengiant Pirtį
Esate iš tų žmonių, kurie žino apie pirties malonumų teikiamą naudą bei mėgsta būtent taip praleisti laisvą laiką? Tokiu atveju verta turėti nuosavą pirtį. Tačiau, kad pavyktų ją įsirengti kokybiškai, verta dėmesį atkreipti į šiuos patarimus bei sužinoti, kokios klaidos yra daromos dažniausiai.
Vienas esminių reikalavimų kurio reikėtų paisyti, norint, kad pirtyje laiką būtų galima praleisti kokybiškai bei maloniai, yra užtikrinti, kad pirtyje - optimali temperatūra bei pakankamas garų kiekis. Jei temperatūros ir garų bus per mažai, nepajusite visos galios, kurią galėtų suteikti pirtis, tuo tarpu, jei karštis bus per didelis, jis ims alinti, kelti diskomfortą. Būtent todėl labai svarbu parinkti tinkamo galingumo pirties krosnelę.
Vienas svarbiausių pirties interjero akcentų yra pirties dailylentes. Labai svarbu išsirinkti tinkamiausias, tačiau, kad tai galėtumėte tai padaryti, reikia žinoti keletą detalių. Bene pats populiariausias pasirinkimas yra iš liepos bei drebulės pagamintos lentelės, tuo tarpu tie, kurie nori susikurti ypač prabangų interjerą, gali rinktis iš kedro pagamintas dailylentes. Neprašausite pro šalį pasirinkę kuo storesnes lenteles - tokiu atveju naudingiausios medienos savybės veiks dar efektyviau, be to, ilgiau tarnaus.
Labai svarbu žinoti, kaip jas kalti. Pasirodo, dailylentes turėtų būti kalamos vertikaliai, tačiau 1 - 2 paskutinės dailylentės (einančios pažeme), verta kalti horizontaliai - tuomet, jas, patamsėjusias nuo drėgmės, bus paprasta pakeisti. Be to, tai padarysite labai greitai - sugaišite vos keliolika minučių.
Ką pirčių įrengimo ekspertai sako apie gultus?
- pirties interjeras atrodys tvarkingai bei harmoningai, jei gultai bus pagaminti iš tos pačios rūšies medienos, kaip ir dailylentės;
- pirmenybę teiksite sėdimoms prities procedūroms? Tokiu atveju gultus įrenkite aukščiau bei mažesnio ploto;
- mėgstate vanotis? Tuomet gultus reikėtų įrengti žemiau bei platesnius;
- norite tamsesnio interjero?
Labai svarbu užtikrinti idealų oro judėjimą. Be ko jau ko, tačiau be drėgmės pirties neįsivaizduojama. Būtent su ja ir yra susijusi dar viena klaida, kurią labai dažnai daro žmonės, nusprendę įsirengti pirtį - neužkertamas kelias jos plitimui į kita patalpas.
Mūsų šalyje yra ypač vertinama ąžuolo bei beržo mediena, todėl paprastai žmonės ją stengiasi panaudoti kone visiems gyvenimo atvejams. Tačiau to nereikėtų daryti, kuomet kalba eina apie pirties įrengimą - ąžuolo bei beržo mediena yra pernelyg sunki, be to, teks sunaudoti kur kas daugiau kuro tam, kad įšildytumėte iš šių medžių pagamintas dailylentes.
Pasinaudokite šiais patarimais išvenkite dažniausiai daromų klaidų ir mėgaukitės sveiku be maloniu poilsiu kokybiškai įrengtoje pirtyje.

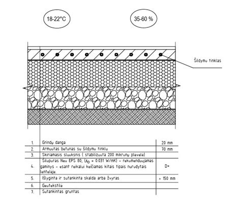
Pirties įrengimo schema.