Įvažiavimas į rūsio garažą - tai inžinerinis sprendimas, leidžiantis efektyviai išnaudoti sklypo erdvę ir sukurti patogią vietą automobiliui laikyti. Šiame straipsnyje aptarsime svarbiausius aspektus, kuriuos reikia apsvarstyti planuojant ir įrengiant įvažiavimą į rūsio garažą.

Planavimo Etape Svarbūs Aspektai
Prieš pradedant įrengimo darbus, būtina atlikti kruopštų planavimą. Tai apima:
- Sklypo ypatybių įvertinimą: būtina atsižvelgti į grunto tipą, reljefą, gruntinio vandens lygį ir kitus geologinius faktorius.
- Nuolydžio kampo nustatymą: optimalus nuolydžio kampas užtikrina saugų ir patogų įvažiavimą.
- Drenažo sistemos projektavimą: tinkamas drenažas apsaugo garažą nuo vandens patekimo.
- Apšvietimo ir saugumo sistemų planavimą: užtikrina saugumą ir patogumą naudojantis garažu tamsiu paros metu.
Reikalavimai ir Leidimai
Įrengiant įvažiavimą į rūsio garažą, būtina laikytis vietinių statybos reglamentų ir gauti reikiamus leidimus. Tai gali apimti:
- Statybos leidimą
- Projektinę dokumentaciją
- Derinimą su savivaldybės institucijomis
Neatitikus reikalavimų, gali būti taikomos baudos arba reikalavimas pašalinti neteisėtai pastatytą įvažiavimą.
Įrengimo Darbai
Įrengimo darbai apima:
- Žemės kasimo darbus: atliekami pagal projektą, atsižvelgiant į numatomą įvažiavimo gylį ir plotį.
- Drenažo sistemos įrengimą: užtikrina vandens pašalinimą nuo įvažiavimo ir garažo.
- Pagrindo paruošimą: sutankinamas gruntas ir klojami pagrindo sluoksniai.
- Dangos įrengimą: gali būti naudojamas betonas, trinkelės, asfaltas ar kitos medžiagos.
- Sienelių įrengimą: jei reikia, įrengiamos atraminės sienelės, apsaugančios nuo grunto slinkimo.

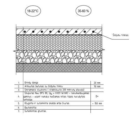
Nuolydžio Kampo Svarba
Nuolydžio kampas yra vienas iš svarbiausių parametrų, užtikrinančių saugų ir patogų įvažiavimą į rūsio garažą. Per didelis nuolydis gali sukelti sunkumų įvažiuojant ir išvažiuojant, ypač žiemą, kai kelias apledėja. Rekomenduojamas nuolydžio kampas paprastai yra ne didesnis nei 15-20 laipsnių.
Drenažo Sistemos Efektyvumas
Tinkamai įrengta drenažo sistema yra būtina norint apsaugoti garažą nuo vandens patekimo. Drenažas gali būti paviršinis (latakai) arba požeminis (drenažo vamzdžiai). Svarbu užtikrinti, kad vanduo būtų efektyviai pašalinamas nuo įvažiavimo ir nukreipiamas į drenažo sistemą.
Saugumo Užtikrinimas
Saugumas yra dar vienas svarbus aspektas, kurį reikia apsvarstyti įrengiant įvažiavimą į rūsio garažą. Tai apima:
- Apšvietimą
- Apsauginius turėklus
- Automatinę garažo vartų sistemą
- Vaizdo stebėjimo kameras (pasirinktinai)
Garažo įrankiai | Mini dirbtuvės | 2025 01 18
Įrengimo Kaina
Įvažiavimo į rūsio garažą įrengimo kaina priklauso nuo daugelio faktorių, įskaitant:
- Sklypo reljefą
- Grunto tipą
- Pasirinktas medžiagas
- Drenažo sistemos sudėtingumą
- Samdomų darbuotojų kainas
Rekomenduojama gauti keletą skirtingų pasiūlymų iš skirtingų rangovų, kad galėtumėte pasirinkti optimaliausią variantą.

Pavyzdys: Namas su rūsiu ir garažu Kaune
Parduodamas tvarkingas, didelis ir patogiai suplanuotas namas Kaune, Sargėnų mikrorajone - ramioje vietoje antroje eilėje nuo Vandžiogalos plento. Gyvenamojo namo informacija:
- Bendras plotas - 409,59 m², naudingas - 254,21 m².
- Statybos metai - 2007 m.
- 2 aukštai + rūsys + garažas.
- 8 kambariai, 3 virtuvės, 3 san. mazgai.
Šildymas:
- 2 dujiniai Viessmann katilai (2019 m. ir 2020 m.)
- 1 aukšto 80,86 m² zonoje - Nordic 5 kW siurblys (2023 m.)
- 2 aukšte - oras-oras sistema su 4 kondicionieriais (2022 m.)
- Grindinis šildymas: 1 aukšto san. mazguose (2022 m.)
| Aukštas | Plotas (m²) | Aprašymas |
|---|---|---|
| 1 aukštas | 80,86 | 3 kambariai (22,72; 11,41; 15,69 m²), virtuvė (13,83 m²), san. mazgas |
| 2 aukštas | 114,18 | Koridorius (6,97 m²), holas (28,86 m²), 3 kambariai (14,66; 17,35; 21,40 m²), virtuvė (13,46 m²), san. mazgas |
tags: #ivaziavimai #i #rusio #garaza